Как выбрать пластину для корпусного токарного резца: совместимость токарных пластин с корпусными резцами
-
3. Обозначение и расшифровка токарных оправок
- 3.1. Материал оправки и наличие каналов СОЖ
- 3.2. Диаметр хвостовика оправки
- 3.3. Длина оправки
- 3.4. Схема крепления пластины в токарную оправку
- 3.5. Форма пластины для токарной оправки
- 3.6. Главный угол в плане
- 3.7. Величина заднего угла пластины
- 3.8. Исполнение оправки
- 3.9. Длина режущей кромки пластины
- 4. Совместимость пластин с корпусными токарными резцами
Обработка на проход (наружных и внутренних поверхностей) – самый распространенный процесс на токарных станках с ЧПУ. Для этого существует множество резцов: в каталогах поставщиков можно найти десятки вариантов корпусов и тысячи типов пластин. Порой бывает сложно понять, какие пластины совместимы с тем или иным корпусом.
Корпуса резцов и пластины имеют стандартизированные буквенно-цифровые обозначения, которые кодируют их основные параметры. Эти обозначения унифицированы, что облегчает выбор инструментов у разных производителей. Для правильного подбора пластины и корпуса нужно сопоставить несколько ключевых характеристик.
Давайте разберемся, какие параметры закодированы в обозначениях токарных пластин и корпусов резцов для наружной (державок) и внутренней (оправок) обработки, а также как они влияют на их совместимость.
1. Обозначение и расшифровка токарных пластин

Пластина CNMG120408-TAMM-CP5015
Для примера возьмем обозначение пластины CNMG120408-TAMM-CP5015. Разделим его на составные части и рассмотрим, какая информация зашифрована в каждой позиции:
| C | N | M | G | 12 | 04 | 08 | TAMM-CP5015 |
|---|---|---|---|---|---|---|---|
| 1.1 | 1.2 | 1.3 | 1.4 | 1.5 | 1.6 | 1.7 | 1.8 |
Расшифровка обозначения токарной пластины CNMG120408-TAMM-CP5015
1.1. Форма токарной пластины
Для токарных резцов чаще всего применяются пластины семи различных форм. В нашем примере с обозначением CNMG120408-TAMM-CP5015, первая буква «C» указывает на ромбическую форму пластины с углом при вершине 80°.
| Обозначение | Изображение | Описание |
|---|---|---|
| C |
| Ромб с углом при вершине 80° |
| В |
| Ромб с углом при вершине 55° |
| R |
| Круг |
| S |
| Квадрат, угол при вершине 90° |
| T |
| Треугольник, угол при вершине 60° |
| V |
| Ромб с углом при вершине 35° |
| W |
| Ломаный треугольник, угол при вершине 80° |
Форма токарной пластины: расшифровка обозначений
1.2. Величина заднего угла
Во второй позиции обозначения пластины CNMG120408-TAMM-CP5015 стоит буква «N», что указывает на задний угол 0°. Такие пластины называют «без заднего угла» или «негативные». Существуют также пластины с задним углом больше 0°, которые называют «позитивными».
| Обозначение | Изображение |
|---|---|
| B |
|
| C |
|
| D |
|
| Обозначение | Изображение |
|---|---|
| N |
|
| P |
|
Величина заднего угла пластины: расшифровка обозначений
1.3. Допуск на размер токарной пластины
Этот параметр также называют «классом точности». В нашем примере для пластины CNMG120408-TAMM-CP5015 допуск обозначен буквой «M», что указывает на средний класс точности. Для общего представления ниже приведена расшифровка нескольких обозначений допусков
| Обозначение | m | s | IC |
|---|---|---|---|
| E | ±0,025 | ±0,025 | ±0,025 |
| G | ±0,025 | ±0,13 | ±0,025 |
| M | ±0,08–±0,20* | ±0,13 | ±0,05–±0,15* |
|
|
|
|
| * Величина допуска зависит от формы и размера пластины | |||
Допуск на размер токарной пластины: расшифровка обозначений
1.4. Конструкция токарной пластины
По конструкции пластины могут различаться наличием или отсутствием отверстия и его формой, а также наличием стружколомающей геометрии (стружколома) на передней поверхности, которая может быть расположена на одной или обеих сторонах пластины. В нашем примере CNMG120408-TAMM-CP5015 в четвертой позиции стоит обозначение «G», что означает, что пластина имеет отверстие и является двусторонней.
| Обозначение | Изображение | Описание |
|---|---|---|
| A |
| Без стружколома, с отверстием |
| G |
| Стружколом на обеих сторонах пластины, с отверстием |
| R |
| Стружколом на одной стороне пластины, без отверстия |
| T |
| Стружколом на одной стороне пластины, отверстие с фаской |
| U |
| Стружколом на обеих сторонах пластины, отверстие с фаской |
| X | Специальная конструкция |
Конструкция токарной пластины: расшифровка обозначений
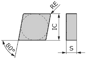
1.5. Длина режущей кромки пластины
Этот параметр часто называют «размером пластины». Обозначение длины режущей кромки зависит от формы пластины и диаметра вписанной окружности (IC). В таблице ниже приведены примеры обозначений длины режущей кромки для ромбовидных пластин с разным углом при вершине: C, D, V. Как видно, даже при одинаковом диаметре вписанной окружности (IC) для пластин разной формы обозначение длины режущей кромки может различаться.
В нашем примере CNMG120408-TAMM-CP5015 длина режущей кромки указана как «12».
| Обозначение для пластины формы C | Обозначение для пластины формы D | Обозначение для пластины формы V | IC (мм) |
|---|---|---|---|
|
|
| |
| 06 | 07 | 11 | 6,35 |
| 08 | 09 | – | 7,94 |
| 09 | 11 | 16 | 9,525 |
| 12 | 15 | 22 | 12,7 |
| 16 | 19 | – | 15,875 |
| 19 | 23 | – | 19,05 |
Размер токарной пластины: расшифровка обозначений
1.6. Толщина токарной пластины
Обозначение «04» указывает на толщину пластины CNMG120408-TAMM-CP5015, которая составляет 4,76 мм. Сводные данные по этому параметру представлены в таблице ниже:
|
|
|---|---|
| Обозначение | Толщина пластины (s), мм |
| 02 | 2,38 |
| T2 | 2,78 |
| 03 | 3,18 |
| T3 | 3,97 |
| 04 | 4,76 |
| 05 | 5,56 |
| 06 | 6,35 |
Толщина токарной пластины: расшифровка обозначений
1.7. Радиус при вершине пластины
На седьмой позиции в обозначении пластины CNMG120408-TAMM-CP5015 стоит «08», что означает радиус при вершине (RE) 0,8 мм. Сводные данные по этому параметру приведены в таблице ниже:
|
|
|
|---|---|
| Обозначение | Толщина пластины (RE), мм |
| 02 | 0,2 |
| 04 | 0,4 |
| 08 | 0,8 |
| 12 | 1,2 |
| 16 | 1,6 |
| 20 | 2,0 |
| 24 | 2,4 |
Радиус при вершине пластины: расшифровка обозначений
1.8. Дополнительная информация о маркировке токарных пластин
В восьмой позиции обозначения CNMG120408-TAMM-CP5015 содержится информация о геометрии передней поверхности («TAMM») и сплаве, из которого изготовлена пластина («CP5015»). Если пластина имеет левое или правое исполнение, это также обычно указывается в данной части обозначения буквами «R» (правое) или «L» (левое).
Эта часть маркировки не стандартизирована и может различаться у разных поставщиков инструмента.
2. Обозначение и расшифровка токарных державок

Державка MCLNR2020K12
Разберем обозначения корпусов резцов для наружной обработки на примере державки MCLNR2020K12, которая подходит для установки пластины CNMG120408-TAMM-CP5015.
| M | C | L | N | R | 2020 | K | 12 |
|---|---|---|---|---|---|---|---|
| 2.1 | 2.2 | 2.3 | 2.4 | 2.5 | 2.6 | 2.7 | 2.8 |
Расшифровка обозначений токарной державки MCLNR2020K12
2.1. Схема крепления пластины к токарной державке
На первой позиции обозначения державки MCLNR2020K12 стоит буква «M». При таком виде крепления пластина поджимается к посадочному пазу державки за счет отверстия, а также дополнительно фиксируется прижимом сверху. Сводные данные по этому параметру представлены в таблице ниже:
| Обозначение | Схема | Описание |
|---|---|---|
| D |
| Прижим повышенной жесткости |
| M |
| Прижим сверху и поджим за отверстие |
| P |
| Прижим рычагом за отверстие |
| S |
| Прижим винтом |
Схема крепления пластины к державке: расшифровка обозначений
2.2. Форма пластины
Форма пластины расшифровывается так же, как и для токарных пластин в пункте 1.1 . Для державки MCLNR2020K12 обозначение «C» указывает на то, что она подходит для установки пластины в форме ромба с углом при вершине 80°.
2.3. Главный угол плане
На третьей позиции обозначения державки MCLNR2020K12 стоит буква «L». Это означает, что державка с установленной пластиной обеспечивает главный угол в плане 95°. Несколько примеров обозначений приведены в таблице ниже.
| Обозначение | Изображение |
|---|---|
| E |
|
| J |
|
| K |
|
| Обозначение | Изображение |
|---|---|
| L |
|
| P |
|
Главный угол в плане: расшифровка обозначений
2.4. Величина заднего угла пластины
Расшифровка аналогична той, что используется для токарных пластин в пункте 1.2 . В обозначении державки MCLNR2020K12 на четвертой позиции стоит буква «N», что указывает на совместимость с пластинами без заднего угла.
2.5. Исполнение державки
Существует несколько вариантов исполнения державки по направлению подачи:
- правое — обозначение «R»;
- левое — «L»;
- нейтральное — «N».
Державка MCLNR2020K12 имеет правое исполнение.
2.6. Размеры хвостовика державки
Размеры хвостовика державки указываются в миллиметрах. Державка MCLNR2020K12 имеет квадратный хвостовик с высотой H = 20 мм и шириной B = 20 мм:


Державка MCLNR2020K12: слева — высота державки «H», справа — ширина «B»
2.7. Длина державки
Длина державки MCLNR2020K12 указана в обозначении буквой «K» и составляет 125 мм. Сводные данные по этому параметру представлены в таблице ниже:
|
|
|
|---|---|
| Обозначение | Длина державки (LF), мм |
| F | 80 |
| H | 100 |
| K | 125 |
| M | 150 |
| P | 170 |
| Q | 180 |
| R | 200 |
| S | 250 |
Длина токарной державки «LF»: расшифровка обозначений
2.8. Длина режущей кромки пластины
Длина режущей кромки пластины у державки MCLNR2020K12 обозначена как «12», аналогично тому, как это указано для токарных пластин в пункте 1.5 .
3. Обозначение и расшифровка токарных оправок

Оправка S20R-SCLCR09
Обозначения корпусов резцов для внутренней обработки в большинстве случаев содержат ту же информацию, что и обозначения державок. Однако есть и отличия, которые мы рассмотрим на примере оправки S20R-SCLCR09:
| S | 20 | R | S | C | L | C | R | 09 |
|---|---|---|---|---|---|---|---|---|
| 3.1 | 3.2 | 3.3 | 3.4 | 3.5 | 3.6 | 3.7 | 3.8 | 3.9 |
Расшифровка обозначений токарной оправки S20R-SCLCR09
Эта оправка не подходит для установки пластины CNMG120408-TAMM-CP5015.
3.1. Материал оправки и наличие каналов СОЖ
Буква «S» на первой позиции обозначения оправки S20R-SCLCR09 указывает на то, что эта оправка изготовлена из стали. В ней отсутствуют каналы подачи СОЖ через корпус. Сводные данные по этому параметру представлены в таблице ниже:
| Обозначение | Описание |
|---|---|
| A | Сталь, с каналами подачи СОЖ через корпус оправки |
| C | Твердый сплав |
| E | Твердый сплав, с каналами подачи СОЖ через корпус оправки |
| S | Сталь |
Материал оправки и наличие канала для СОЖ: расшифровка обозначений
3.2. Диаметр хвостовика оправки
Диаметр хвостовика оправки указывается в миллиметрах. В обозначении S20R-SCLCR09 на второй позиции стоит «20». Это означает, что диаметр хвостовика DCON составляет 20 мм.

Схема диаметра хвостовика токарной оправки
3.3. Длина оправки
Расшифровка длины оправки аналогична таковой для токарных державок в пункте 2.7 . В обозначении S20R-SCLCR09 на третьей позиции стоит буква «R». Это означает, что ее длина составляет 200 мм.
3.4. Схема крепления пластины в токарную оправку
Схема крепления пластины имеет те же значения, что и для державок в пункте 2.1 . У оправки S20R-SCLCR09 пластина крепится винтом, что обозначается буквой «S» в маркировке.
3.5. Форма пластины для токарной оправки
Обозначение формы пластины расшифровывается аналогично тому, как это сделано для токарных пластин в пункте 1.1 и для державок в пункте 2.2 . У оправки S20R-SCLCR09 форма пластины обозначена буквой «C». Это означает, что оправка подходит для установки пластины в форме ромба с углом при вершине 80°.
3.6. Главный угол плане
На шестой позиции обозначения оправки S20R-SCLCR09 стоит буква «L», что указывает на главный угол в плане 95°. Обозначения главного угла в плане для оправок аналогичны тем, что используются для державок в пункте 2.3 . Приведем несколько примеров обозначений угла в плане, характерных для оправок:
| Обозначение | Изображение |
|---|---|
| K |
|
| L |
|
| Q |
|
| Обозначение | Изображение |
|---|---|
| U |
|
| W |
|
Главный угол в плане: расшифровка обозначений
3.7. Величина заднего угла пластины
Величина заднего угла расшифровывается аналогично тому, как это сделано для токарных пластин в пункте 1.2 и для державок в пункте 2.4 . В обозначении оправки S20R-SCLCR09 на седьмой позиции стоит буква «C». Это означает, что в данную оправку можно установить пластину с задним углом 7°.
3.8. Исполнение оправки
Исполнение оправки имеет тот же смысл и значения, что и для державок в п. 2.5 . Оправка S20R-SCLCR09 — правая.
3.9. Длина режущей кромки пластины
Длина режущей кромки пластины имеет тот же смысл, что и для токарных пластин в пункте 1.5 и для державок в пункте 2.8 . У оправки S20R-SCLCR09 размер режущей кромки обозначен как «09».
4. Совместимость пластин с корпусными токарными резцами

Державка MCLNR2020K12

Пластины CNMG120408-TAMM-CP5015
Для того чтобы определить, подходят ли друг к другу корпус резца и пластина, достаточно сопоставить значения трех параметров в их обозначениях: форма пластины, величина заднего угла пластины и размер (длина режущей кромки) пластины.
Для наглядности мы объединим таблицы с разделенными на позиции обозначениями пластины, державки и оправки, которые были рассмотрены ранее, и сдвинем их так, чтобы интересующие нас позиции оказались друг над другом:
| CNMG120408-TAMM-CP5015 | C | N | M | G | 12 | 04 | 08 | TAMM-CP5015 | ||||||
| 1.1 | 1.2 | 1.3 | 1.4 | 1.5 | 1.6 | 1.7 | 1.8 | |||||||
| MCLNR2020K12 | M | C | L | N | R | 2020 | K | 12 | ||||||
| 2.1 | 2.2 | 2.3 | 2.4 | 2.5 | 2.6 | 2.7 | 2.8 | |||||||
| S20R-SCLCR09 | S | 20 | R | S | C | L | C | R | 09 | |||||
| 3.1 | 3.2 | 3.3 | 3.4 | 3.5 | 3.6 | 3.7 | 3.8 | 3.9 | ||||||
Сопоставление обозначений токарной державки MCLNR2020K12 и оправки S20R-SCLCR09
В таком представлении легко заметить, что в обозначениях пластины CNMG120408-TAMM-CP5015 и державки MCLNR2020K12 совпадают форма пластины («C»), задний угол («N») и размер пластины («12»). Следовательно, как и указывалось ранее, эта пластина и державка совместимы между собой.
Если рассмотреть позиции обозначений пластины CNMG120408-TAMM-CP5015 и оправки S20R-SCLCR09, можно заметить, что они не совместимы, несмотря на одинаковое обозначение формы пластины «C». Для установки в оправку S20R-SCLCR09 необходима пластина с задним углом 7° и размером «09», тогда как у пластины CNMG120408-TAMM-CP5015 задний угол отсутствует, а размер составляет «12».

Пластина DNMG150608-TBPP-CC1025
Для определения совместимости пластин необходимо учитывать несколько основных факторов, которые могут повлиять на возможность установки пластины в корпус резца.
В большинстве случаев нет необходимости учитывать толщину пластины, если они и корпуса поставляются одним производителем. Однако, если толщина указана в обозначении корпуса резца, как в пункте 2.8 , стоит обратить внимание на толщину выбираемой пластины. Например, для установки в державку MDJNR2525M1506 понадобится пластина формы «D» размера 15 с обозначением толщины 06 (DN1506...), тогда как для MDJNR2525M1504 требуется пластина с обозначением толщины 04 (DN1504...).


Чертежи пластин формы «C» с отверстием и без отверстия
Кроме того, следует учитывать, что если в корпусе резца для крепления пластины требуется наличие отверстия, то конструкция пластины должна соответствовать этому требованию.

Пластина в правом исполнении TNMG160408-TAPR-CC2025
Большинство пластин имеет нейтральное исполнение, что позволяет устанавливать их в корпуса как с левым, так и с правым исполнением. Однако некоторые пластины изготавливаются со стружколомом в левом и правом исполнении. Для таких пластин важно правильно выбрать исполнение корпуса резца в зависимости от выполняемой задачи.